TMS320DM6435EZWT6
Las imágenes son para referencia solamente
Ver especificaciones del producto
Ver especificaciones del producto
595-MS320DM6435EZWT6
TMS320DM6435EZWT6
Fabricante:
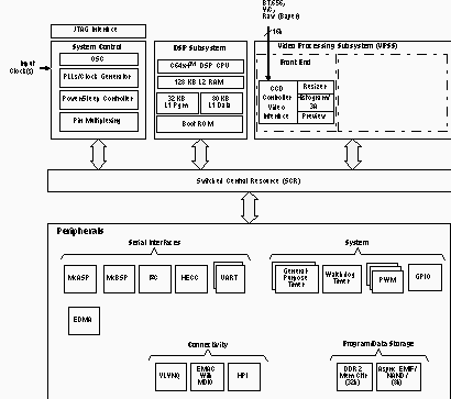
Descripción:
Procesadores de Señal Digital y Controladores - DSP, DSC Digital Media Proces sor
Procesadores de Señal Digital y Controladores - DSP, DSC Digital Media Proces sor
Hoja de datos:
Disponibilidad
-
Existencias:
-
No en existenciasSe ha producido un error inesperado. Vuelva a intentarlo más tarde.
-
Plazo de entrega de fábrica:
-
18 Semanas Tiempo estimado de producción de fábrica.
Precio (USD)
| Cantidad | Precio unitario |
Precio ext.
|
|---|---|---|
| $49.83 | $4,484.70 | |
| 270 | Presupuesto |
Hoja de datos
Application Notes
- 12Vin DM643x Power using Integrated-FET DC/DC Converters and LDO
- 5Vin DM643x Power using a PMIC (Multi-output DC/DC Converter)
- 5Vin DM643x Power using DC/DC Controllers and LDO
- 5Vin DM643x Power using Integrated-FET DC/DC Converters and LDO
- DaVinci Technology Background and Specifications (Rev. A)
- How to Use the EDMA3 Driver on a TMS320DM643x Device (Rev. A)
- How to Use the VPBE and VPFE Driver on the TMS320DM643x Devices (Rev. A)
- Implementing DDR2 PCB Layout on the TMS320DM643x DMSoC (Rev. A)
- TMS320DM643x Pin Multiplexing Utility
- TMS320DM643x Power Consumption Summary (Rev. C)
- Understanding the Davinci Preview Engine (Rev. A)
- Understanding the Davinci Resizer (Rev. B)
- Using the TMS320DM643x Bootloader (Rev. E)
Images
PCN
- CNHTS:
- 8542319000
- CAHTS:
- 8542310000
- USHTS:
- 8542310035
- JPHTS:
- 854231033
- KRHTS:
- 8542311000
- TARIC:
- 8542319000
- MXHTS:
- 8542310302
- ECCN:
- 3A991.a.2
Honduras
